Product Installation
The SIO06 is designed for use in rail vehicles only and may only be used after professional installation. Installation and operation may only be carried out by authorized specialist personnel. Access by persons without professional qualifications must be prevented at the installation site.
DIN Rail Mounting
SIO06 comes with an integrated DIN-rail mounting holder for both TH35 and Simatic S7 DIN-rail systems.

Installation and removal on Simatic S7 DIN-rail systems
To install the SIO06 on a Simatic S7 DIN-rail system, place the product on the lower hook of the holder on the lower side of the rail, pull the product slightly upward, and snap the upper end of the holder onto the top of the rail.

To remove the SIO06 from a Simatic S7 DIN-rail system, use a screwdriver to gently pull down the slider at the bottom of the holder until the spring tension allows it to be unhooked from below. Tilt the product upward to lift it off the rail.

Installation and removal on TH35 DIN-rail systems
To install the SIO06 on a TH35 DIN-rail system, place the product on the upper hook of the holder with the upper side of the rail, pull the product slightly downward, and use a screwdriver to bend the spring downward and snap the lower end onto the rail.
To remove the SIO06 from a TH35 DIN-rail system, use a screwdriver to gently pull down the slider at the bottom of the holder until the spring tension allows it to be unhooked from below. Tilt the product upward to lift it off the rail.

Cooling
The SIO06 is designed to work without forced airflow. Install the product so that it meets the environmental conditions defined in EN 50155 OT4, ST1.
Installation specifications for EMC compatibility
To maintain EMC compliance, shielded cables must be used for the following connections:
- 100 MBit/s Ethernet
Furthermore, the product must be earthed according to Earthing.
Earthing
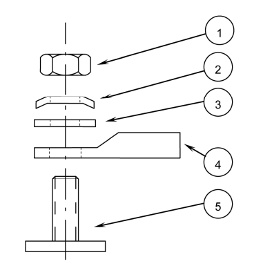
SIO06 requires protective earthing. Earthing is performed using an M5 grounding bolt in accordance with EN50343:2014, and the connection must be secured with a torque of 4.5 to 6 Nm.
The M5 washer, M5 spring washer and M5 nut are included in the delivery, while the crimp terminal lug must be provided by the installer.

1) Nut 2) Spring washer 3) Washer 4) Crimp terminal lug 5) bolt
The position of the earthing bolt can be seen in the following illustration:

Electrical Fuse
The SIO06 shall be installed using an external fuse of the following type:
- 1A, slow blow